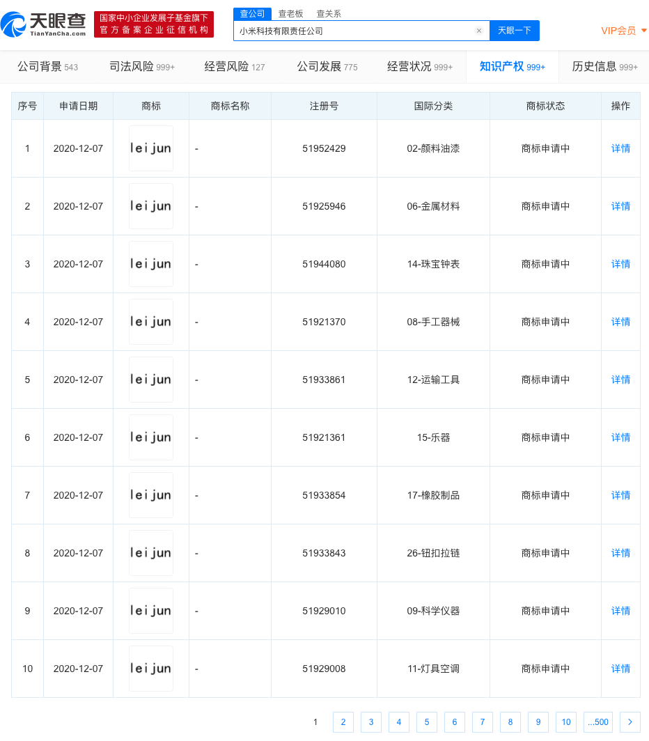
小米(1810)據報正在申請多個「lei Jun」商標,「lei Jun」是小米創辦人雷軍名字的普通話拼音。
內地企業查詢網站「天眼查」顯示,小米近日新增多個「lei Jun」商標,涉及國際分類包含金屬材料、運輸工具、樂器、珠寶鐘表等。申請日期為2020年12月7日。目前商標狀態為「商標申請中」。
小米早前以先舊後新方式配股,並發行可換股債券,合共集資約39.9億美元(約311.2億港元),主要用於增加營運資金以擴大業務、增加主要市場的市場份額、投資戰略生態系統等。

小米(1810)據報正在申請多個「lei Jun」商標,「lei Jun」是小米創辦人雷軍名字的普通話拼音。
內地企業查詢網站「天眼查」顯示,小米近日新增多個「lei Jun」商標,涉及國際分類包含金屬材料、運輸工具、樂器、珠寶鐘表等。申請日期為2020年12月7日。目前商標狀態為「商標申請中」。
小米早前以先舊後新方式配股,並發行可換股債券,合共集資約39.9億美元(約311.2億港元),主要用於增加營運資金以擴大業務、增加主要市場的市場份額、投資戰略生態系統等。


