日前任天堂為Switch遊戲機申請的一項新專利曝光,專利文件顯示未來Swtich可能支持虛擬現實功能。

任天堂新專利曝光(圖片來自新浪)
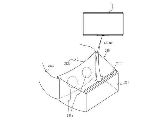
根據該專利,任天堂將把Switch變成一台大號Daydream View或Gear VR——用戶可以直接將其固定到眼罩上,並使用該遊戲機的手柄進行控制。
由於這只是一項專利申請文件,所以並不保證任天堂一定會在明年3月發布Switch時提供虛擬現實功能。盡管如此,這項功能仍然非常符合邏輯,而且要在Switch上增加基礎的虛擬現實體驗也並不困難。原因是Switch定位是掌機、家用遊戲機二合一混合型設備,因此在體積上完全符合要求,但不足的地方時性能較弱。
根據最新消息,任天堂Switch發布會將於北京時間2017年1月12日中午12點舉行。預計任天堂Switch將在明年三月份在全球發售。任天堂對其預期非常樂觀,該公司認為截至2017年3月底,Nintendo Switch將賣出200萬台,這也僅僅是差不多一個月的銷量。
另外,加拿大一家電玩網站悄然上線了Nintendo Switch的銷售界面,並且標價329.9加元(約合1660元人民幣)。