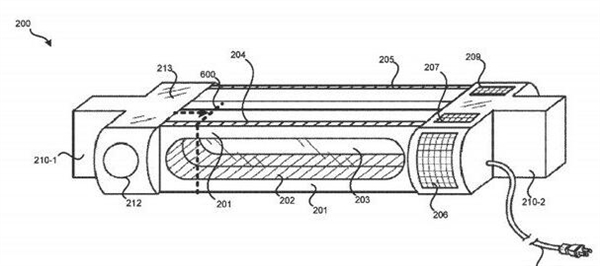
在智能家居的概念下,越來越多的互聯網公司開始涉足家電領域,谷歌便是其中之一。 谷歌最新爲Google Home項目中的一款全新智能空調産品申請了專利,其想法十分獨特。谷歌所發明的這種空調類似上世紀流行的“窗機”,直接安裝在窗戶上,省去了室外機的繁瑣和笨重。而且,谷歌的這款空調提醒更加小巧,還不會影響到窗戶的開關。
據介紹,谷歌空調利用了空氣熱轉換原理設計,沒有扇葉、不使用製冷劑,完全通過空氣中熱量的交換來實現降溫。同時兼顧節能、環保和靜音的效果。
遺憾的是,這款概念超前的空調還只是在設計階段,而谷歌也沒有公開更多的技術細節。




