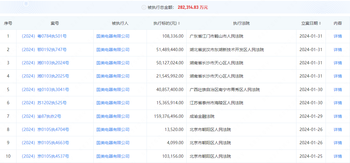
近日,據企查查信息顯示,1月29日至31日,國美電器有限公司新增7條被執行人信息,執行標的合計3.38億餘元,涉及票據糾紛、金融借款合同糾紛等案件。部分案件被執行人還包括國美電器零售有限公司、湖南國美電器有限公司、重慶市國美電器有限公司等,執行法院包括長沙市天心區人民法院、南寧市青秀區人民法院等。
截至目前,國美電器有限公司累計被執行金額已超28億元。
風險信息顯示,國美電器有限公司現存152條被執行人信息。此外,該公司還存在多條限制消費令、失信被執行人(老賴)和終本案件信息。

企查查截圖。
據此前報道,目前國美電器在廣東的門店已全部關閉,前期國美電器拖欠各個供應商的貨款目前償還尚未有進展。
2023年12月1日,福田區人民法院成功受理了深圳市消委會支持的消費者對國美電器提起的集體訴訟。
據國美零售發布的半年報顯示,2023年上半年,國美零售實現營收4.15億元,相比去年同期營收121.09億元下降96.57%;歸母淨利潤虧損35.39億元,相比去年同期淨虧損29.66億元,虧損額擴大了19.32%;毛利由去年同期的20.88億元,變為虧損1.2億元。(綜合自金融界、深圳特區報、南方財經網、企查查)